Авторизация

Справочник - subarist.ru

Это словарь терминов, аббревиатур, названий. Автомобильный толковый словарь

Рулевая трапеция
Рулевая трапеция
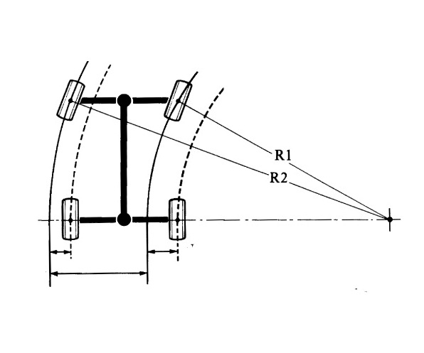
       Система тяг, обеспечивающая поворот колёс на разный угол, называется рулевой трапецией. Поворот колёс на разный угол требуется в связи с тем, что внутреннее и внешнее (относительно центра радиуса поворота) колёса автомобиля в движении проходят разный путь (схема №1). Чтобы реализовать эту задачу на практике механизм, т...

Температура вспышки
Температура вспышки
     Состояние, при котором появляется вспышка на поверхности масла, если приподнести к ней пламя газовой горелки. Температура вспышки масел является показателем их фракционного состава и испаряемости. Повышенная испаряемость (угар) является следствием большого  содержания  в масле легких фракций. 
    Чем выше...

Тормозная система. Техническое обслуживание.
Тормозная система. Техническое обслуживание.
Тормозная система (дисковые тормоза). Техническое обслуживание.

Повысить надёжность тормозов своего автомобиля может каждый! Для этого достаточно соблюдать регламент технического обслуживания (ТО).

Регламент ТО тормозной системы.

1. При каждом снятии колёс осматривать тормозные механизмы, пр...

Установка 8-97602-379-0
Установка 8-97602-379-0

Щелочное число
Щелочное число
Щелочное число (TBN - Total Base Number ) показывает общую щелочность масла, включая вносимую моющими и диспергирующими присадками, которые обладают щелочными свойствами. TBN характеризует способность масла нейтрализовывать вредные кислоты, поступающие в него в процессе работы двигателя и противодействовать образованию отложений. Выражае...

Страницы: Пред. 1 ... 20 21 22 23 24